生产厂家:
采用7寸威纶通液晶触控显示屏,中文菜单显示。公称规格、设定载荷、打印设定、测试、上行、下行、时间、标定。由键盘与触摸控制液晶显示屏上的菜单,机载打印测试结果。

标准:
完全符合GB-T17257.2 “集尿袋”标准中相关条款设计制造。
技术指标:
公称规格:根据客户要求
加载范围:0-200N,客户任意设置
设定时间:1s~60min, 客户任意设置 精度:0.2S
净重:30kg
仪器依标准:GB-T17257.2-2009规定升级服务。
设备免费保修期为1年。

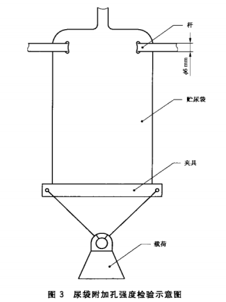
悬吊孔强度检验
1要求
用一根杆穿过悬吊孔将贮尿袋悬挂,在其底部施加载荷,然后目测检查贮尿袋是否损坏。
2设备
杆:直径6 mm士0.1 inm,并将其支撑在一水平高度。
夹具:夹在贮尿袋底部整个宽度上,能夹紧,并能加载。
6GB/T 17257.2--2009/IS0 8669-2:1996
载荷:将载荷施加到夹具上,载荷和夹具的总质量等于被检验贮尿袋容积质量的1.5倍。
3步骤
按照企业使用说明,将杆(6.6.2.1)穿过贮尿袋顶部悬吊孔,如图3所示。
图3尿袋附加孔强度检验示意图
将杆安放在一定高度上,使贮尿袋在杆上自由悬挂。
将夹具装在贮尿袋的底部,如图3所示。如果贮尿袋底部有排放开关防碍夹具安
置,则剪掉排放开关,安装夹具。
将载荷(施加到夹具上,载荷和夹具的总质量等于被测贮尿袋测试容积
质量的1.5倍。
将载荷作用在贮尿袋上24 h土1 h。目测检查悬吊孔。
检验报告
检验报告包括第7章列出的信息,和悬吊孔是否破损的描述。

客服1